平整定位輥電液比例控制及在線監控
平整定位輥是某熱軋帶鋼廠平整線人口的關鍵設備之一,由兩套獨立的電液比例系統進行驅動,同時還裝有以可編程控制器和組態軟件為核心的計算機在線監控系統,可方便地對工作過程進行控制與監測。
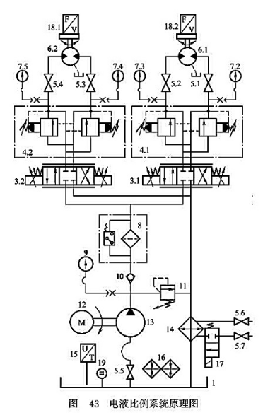
1.液壓系統
兩個定位輥采用獨立的系統驅動,當使用一段時間后,兩輥道機械零部件磨損不一致、電液比例系統零點與增益改變或負載不平衡時,其轉速也會不相同,從而導致其中某一個定位輥成為另一個的負載,使工況劣化,設備壽命降低。兩個定位輥支撐的鋼卷重力為330kN左右,屬重載工況,在正常操作(尤其是正反轉切換)時,慣性大、沖擊大,定位精度難以保證。
考慮上述問題,采用如圖43所示的電液比例系統。
驅動定位輥:選用帶壓差補償器的比例方向閥3.1和3.2作為主要控制元件,調節方便,速度剛度大,同時通過輥道端部的編碼器18.1和18.2對轉速進行測量與反饋,實現數字閉環控制,能達到較高的同步控制精度。比例方向閥便于設定起停斜坡時間和速度切換控制,能使輥道在起動、停止、變速時運動平穩、同時在液壓馬達的進出口間設置雙向溢流緩沖閥4.1和4.2,能避免液壓馬達兩個油口的壓力出現異常,吸收系統的沖擊和振動,使設備運行更加平穩,定位精度更高。液壓馬達直接安裝于定位輥道頭部,處于鋼卷升降與平移的通道區。若馬達尺寸過大,容易被運行的鋼卷碰撞;若馬達尺寸過小,又不能直接輸出所需的工作轉矩。為解決安裝空間尺寸小與輸出轉矩大的矛盾,考慮選用帶行星減速機的一體化液壓馬達6.1和6.2作為驅動裝置,尺寸小,驅動力矩大。另外為保證電液比例系統正常工作,設置有液位、清潔度和溫度監控元件,液位傳感器19、帶壓差報警過濾精度為10pin的精過濾器8、PT100溫度傳感器15、電加熱器16、冷卻水閥17、冷卻器16。
2.計算機監控系統硬件
(1)下位機系統分析與設計。所設計的電液比例系統含有數字量和模擬量輸入、輸出、脈沖量輸入等參量,還需進行數字閉環控制,對運動速度實時修正。根據這一特點,選擇性能可靠、編程簡單、具有開關量和模擬量輸入、輸出、運算、定時、計數、順序控制、PID控制等功能的西門子S7-300可編程控制器作為下位機核心控制元件。其配置為:電源模塊PS307 SA、CPU模塊CPU 3130-2 DP(集成D116/D016,可作高速計時計數用)、開關量輸入模塊Dl4、模擬量輸入、輸出模塊A14/A02。為使液壓泵電動機安裝、調試與檢修方便,設置有本地手動起停控制按鈕,其他均在監控計算機畫面上進行操作與監視。可編程控制系統I/O地址分配見下表。
可編程控制系統I/O地址分配表
|
名 稱 |
輸入地址 |
輸出地址 |
|
名 稱 |
輸入地址 |
輸出地址 |
|
電動機本地啟動 |
I0.0 |
|
|
壓差報警 |
I0.3 |
|
|
電動機本地停止 |
I0.1 |
|
|
閥油箱液位 |
PIW274 |
|
|
泵吸油閥狀態 |
I0.2 |
|
|
比例閥1信號 |
|
PQW272 |
|
電動機啟動器 |
|
Q124.0 |
|
編碼器1信號 |
IW768 |
|
|
溫度傳感器 |
PIW272 |
|
|
比例閥2信號 |
|
PQW274 |
|
電加熱器 |
|
Q124.1 |
|
編碼器2信號 |
IW780 |
|
|
冷卻水閥 |
|
Q124.2 |
|
|
|
|
(2)上位機系統分析與設計。上位機配置西門子通信卡CP5611,并安裝組態軟件WinCC5.1,用于開發用戶程序,建立人機接口。上位機通過通信卡與可編程控制器的多點接口(MPI)進行通信,對現場生產過程進行監控。監控網絡結構圖如圖44所示。
3.計算機監控系統軟件
(1)可編程控制器控制軟件設計。
1)可編程控制器硬件組態。在STEP75.1中按上述配置進行硬件組態,并將兩個測速編碼器對應的輸入通道設置為頻率測量,以便測量值與速度呈線性關系,將AI通道設置為0~20mA,與模擬傳感器輸出信號匹配;將AO通道設置為 -10~+10V,與比例放大器匹配。
2)可編程控制器程序結構設計與編寫。按照系統的工況與連鎖條件,程序結構由一個組織塊( OB1)、兩個功能(FC1、FC2)、一個功能塊(FB1)和三個數據塊(DB1、DB10、DB11)組成。
其中OB1作為主循環程序塊,調用其他數據塊、功能、功能塊實現控制任務;FCl屬環境條件檢測功能,用于對液位、油溫、污染進行檢測,判斷液壓系統是否具備工作條件;FC2是電動機控制功能。對本地、遠程起停條件進行運算,控制液壓泵電動機組的運行狀態;FB1是對兩臺比例閥進行PID控制的功能塊,因兩比例閥工作方式相同,只是參數可能不一致,因此用兩個背景數據塊DB10和DB11分別為兩比例閥控制提供運行參數。DB1作為共享數據塊,是上位機和下位機進行數據交換的區域,通過它將監控計算機與現場設備聯成一體。程序結構如圖45所示。
(2)人機接口(HMI)軟件。人機接口主要用組態軟件WinCC5.1進行開發,包括操作監控主畫面、泵站監控畫面、定位輥道監控畫面、通信模塊、歷史數據保存、讀盤和打印等幾個功能模塊。能通過上述功能模塊對液壓系統進行遠程操作與監視,并將運行信息保存和發送到廠信息中心,供廠級監視診斷中心和遠程監視診斷中心使用。
系統操作人員通過HMI發出操作指令經由網絡送到現場PLC站,PLC的AO、DO模塊與設備總線對液壓系統中的相關元件進行調節與控制;同時液壓系統運行過程中的狀態參數通過設備總線與現場PLC站AI、DI模塊經過網絡送到監視站。工程技術人員可以通過工程師站對系統運行環境、參數進行設定、修改和維護。
系統在某熱軋廠平整生產線上投入使用后,生產線自動化程度、管理質量和可靠性大大提高,故障診斷和處理直觀,便于維護和使用,減輕了勞動強度,提高了勞動生產率,取得了良好的效益。
